Technische Daten
Druckbereich Medium
|
0.5 ... 6.0 bar
|
Umgebungstemperatur
|
-10 °C ... +50 °C
|
Mediumtemperatur
|
-10 °C ... +80 °C
|
| Gehäuse |
PP,Aluminium
geeignet für Aussenmontage |
Schutzart
|
IP65
|
digitale Schnittstellen
|
1 DIN-Messbus (Slave) oder 1 RS-232,
potentialfrei |
Hilfsenergie
|
18 ... 36 VDC, max 2.5W
|
Gewicht
|
ca 2kg
|
Montage*
|
DIN-Flansch NW50, PN16
|
Material medienberührt*
|
PP, EPDM
|
| Messgrössen |
Freon, Methanol, Methan etc |
* andere Befestigungen, Materialien und
Elektroden auf Anfrage |
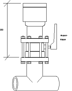
Abmessungen

|